Product Summary
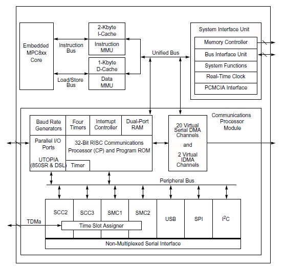
The XPC850DEZT50BU is a versatile, one-chip integrated microprocessor and peripheral combination that can be used in a variety of controller applications, excelling particularly in communications and networking products. The XPC850DEZT50BU, which includes support for Ethernet, is specifically designed for cost-sensitive, remote-access, and telecommunications applications. It is provides functions similar to the MPC860, with system enhancements such as universal serial bus (USB) support and a larger (8-Kbyte) dual-port RAM. In addition to a high-performance embedded MPC8xx core, the XPC850DEZT50BU integrates system functions, such as a versatile memory controller and a communications processor module (CPM) that incorporates a specialized, independent RISC communications processor (referred to as the CP). This separate processor off-loads peripheral tasks from the embedded MPC8xx core.
Parametrics
XPC850DEZT50BU absolute maximum ratings: (1)Vendor: Freescale Semiconductor; (2)Category: Integrated Circuits (ICs); (3)Processor Type: MPC8xx PowerQUICC 32-Bit; (4)Speed: 50MHz; (5)Voltage: 3.3V; (6)Lead Free Status Contains Lead; (7)RoHS Status RoHS Non-Compliant.
Features
XPC850DEZT50BU features: (1)Advanced on-chip emulation debug mode; (2)Data bus dynamic bus sizing for 8, 16, and 32-bit buses; (3)Completely static design; (4)System integration unit (SIU); (5)Single socket PCMCIA-ATA interface; (6)Communications processor module (CPM); (7)Four independent baud-rate generators (BRGs); (8)One universal serial bus controller (USB); (9)Two serial management controllers (SMCs).
Diagrams

| Image | Part No | Mfg | Description | ![]() |
Pricing (USD) |
Quantity | ||||
|---|---|---|---|---|---|---|---|---|---|---|
![]() |
![]() XPC850DEZT50BU |
![]() |
![]() IC MPU POWERQUICC 50MHZ 256-PBGA |
![]() Data Sheet |
![]() Negotiable |
|
||||
![]() |
![]() XPC850DEZT50BUR2 |
![]() |
![]() IC MPU POWERQUICC 50MHZ 256-PBGA |
![]() Data Sheet |
![]() Negotiable |
|
||||
(Singapore)









