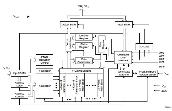
Product Summary
The TE28F400B3T110 is a smart 3 advanced boot block. It represents a featurerich solution at overall lower system cost. The TE28F400B3T110 incorporates low voltage capability (2.7 V read, program and erase) with high-speed, low-power operation. Several new features have been added, including the ability to drive the I/O at 1.65 V, which significantly reduces system active power and interfaces to 1.65 V controllers. A new blocking scheme enables code and data storage within a single device.
Parametrics
TE28F400B3T110 absolute maximum ratings: (1)Extended Operating Temperature: During Read: –40 ℃ to +85 ℃; During Block Erase and Program: –40 ℃ to +85 ℃; Temperature Under Bias: –40 ℃ to +85 ℃; (2)Storage Temperature: –65 ℃ to +125 ℃; (3)Voltage on Any Pin(except VCC, VCCQ and VPP)with Respect to GND: –0.5 V to 3.7 V; (4)VPP Voltage (for Block Erase and Program)with Respect to GND: –0.5 V to +13.5 V; (5)VCC and VCCQ Supply Voltage with Respect to GND: –0.2 V to +3.7 V; (6)Output Short Circuit Current: 100 mA.
Features
TE28F400B3T110 features: (1)Flexible SmartVoltage Technology: 2.7 V-3.6 V Read/Program/Erase; 12 V VPP Fast Production Programming; (2)2.7 V or 1.65 V I/O Option: Reduces Overall System Power; (3)High Performance: 2.7 V-3.6 V: 90 ns Max Access Time; 3.0 V-3.6 V: 80 ns Max Access Time; (4)Block Locking: VCC-Level Control through WP#; (5)Low Power Consumption: 10 mA Typical Read Current; (6)Automated Program and Block Erase: Status Registers; (7)Extended Cycling Capability: Minimum 100,000 Block Erase Cycles Guaranteed.
Diagrams

![]() |
![]() TE28F004S3-150 |
![]() Other |
![]() |
![]() Data Sheet |
![]() Negotiable |
|
||||
![]() |
![]() TE28F004S5-100 |
![]() Other |
![]() |
![]() Data Sheet |
![]() Negotiable |
|
||||
![]() |
![]() TE28F004SC-100 |
![]() Other |
![]() |
![]() Data Sheet |
![]() Negotiable |
|
||||
![]() |
![]() TE28F008B3B120 |
![]() Other |
![]() |
![]() Data Sheet |
![]() Negotiable |
|
||||
![]() |
![]() TE28F008B3BA110 |
![]() Other |
![]() |
![]() Data Sheet |
![]() Negotiable |
|
||||
![]() |
![]() TE28F008SA-100 |
![]() Other |
![]() |
![]() Data Sheet |
![]() Negotiable |
|
||||
(Singapore)








